מועדון פיאט ישראל

מועדון פיאט ישראל (http://www.fiatclub.co.il/forum/index.php)
-   פונטו - טכני (http://www.fiatclub.co.il/forum/forumdisplay.php?f=24)
-   -   רעש משטנגות ידית הילוכים (http://www.fiatclub.co.il/forum/showthread.php?t=15050)

yair068 25-06-12 17:55

רעש משטנגות ידית הילוכים
 
בניוטרל כשאני משחק בידית ההילוכים נשמע רעש של חופש שטנגות
בדקתי וחפרתי והגעתי למסקנה שהחיבור שיוצא מאיזור קיר האש כנראה או שפוגע במשהוא או שהתפוח כדור חופשי
אם יש למישהו תצלום או איך אני מפרק את הידית עד לקיר האש ולראות מאיפה הבעיה
דוד תתחיל לעבוד ולא יפה לסגור לך טלפון :o

mechtech 25-06-12 20:27

4 צירוף קובץ(ים)
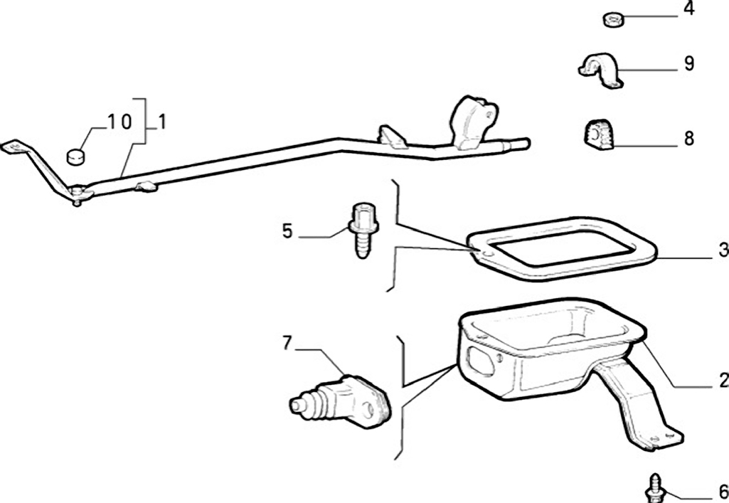
הנה איור של המנגנון, אולי יעזור.

תמונה 1
קובץ מצורף 6910

תמונה 2
קובץ מצורף 6911

תמונה 3
קובץ מצורף 6912

תמונה 4
קובץ מצורף 6913

yair068 25-06-12 23:33

1 צירוף קובץ(ים)
חפרתי אתמול קצת ונראה לי שהבעיה בחיבור המסומן האם הוא הברגה או תפוח כדורי ואיך מגיעים לשם ע"י פירוק כל הידית או אפשרות מלמטה ע"י מסרק ההגה

chesh 25-06-12 23:58

1 צירוף קובץ(ים)
מנצ"ל את השרשור
יש בתמונה גומיה כזאת (סימנתי באדום)
הבנתי שזה מגן מלכלוך שיכנס, על מה הגומיה יושבת בדיוק?
היא ממש יבשה אצלי וכבר מראה סימני קריעה. האם כדאי להחליף אותה?

yair068 26-06-12 00:00

לא אין צורך
גם אצלי לא יושבת טוב אין מה לעשות

mechtech 26-06-12 00:10

לי אישית עדיין לא יצא לפרק, מן הסתם לא אוכל להציע קיצורי דרך, צריך להמתין לדויד שישלוף את השפן מהכובע, או לחברים אחרים.:rolleyes:
בדקתי בהיינס אך אין פרטים מדוייקים, צריך להסתכל בשטח ולהחליט מה הגישה הכי נוחה ומהירה.

צטט:

במקור פורסם על ידי yair068 (הודעה 110996)
חפרתי אתמול קצת ונראה לי שהבעיה בחיבור המסומן האם הוא הברגה או תפוח כדורי ואיך מגיעים לשם ע"י פירוק כל הידית או אפשרות מלמטה ע"י מסרק ההגה

כנראה תותב מסב החלקה עם גומי (בושינג).

davidmzr 26-06-12 07:46

כדי לפרק את מנגנון הידית, יש להרים את הרכב גבוה, לפרק אגזוז ופחית הגנה מאלומיניום.
המנגנון עם הידית יוצאים כלפי מטה. עבודה לא קלה. גם הפירוק מהגה הכוח וההרכבה סיפור מההפטרה. שלא לדבר על הכנסת הבוקסה החדשה לתוך הזרוע, ולאחר מכן לתפוח הכדורי.
דוד.

davidmzr 26-06-12 08:36

צטט:

במקור פורסם על ידי yair068 (הודעה 110979)
דוד תתחיל לעבוד ולא יפה לסגור לך טלפון :o

נ.ב. מדבריך אפשר לחשוב שניתקתי לך שיחה באמצע. :)
כן אני סוגר את הנייד לפעמים בצהריים לשעה, ומנסה להרדם. או שוכח לפתוח אותו. :)
דוד.

yair068 26-06-12 09:49

דוד לפי מה שאתה אומר יש חיבור תפוח כדורי שם שלא רואים אותו במתאר ה-EPER של פיאט
יש מצב שהתפוח ישתחרר ולא יהיו לי הילוכים
בזמנו פירקתה את התיבה הזאת יש מצב לתצלום

davidmzr 26-06-12 10:11

תאמין לי שניסתי להרים בשבילך את הפונטו לחלקים ולצלם. לא הצלחתי לצלם. צפוף שם.
לא הסתכלתי בסרטוטים שהועלו.
יש לי מערכת קומפלט של ידית ההילוכים כולל השטנגות עד הגיר מפורקת. אבל היא נמצאת בין החלקים.
יותר מאוחר אנסה לפנות מעט להוציא ולצלם.
דוד.


כל הזמנים קבועים כ GMT +3. השעה כרגע היא 23:52.

Powered by vBulletin® Version 3.7.3
Copyright ©2000 - 2026, Jelsoft Enterprises Ltd.
FIAT CLUB ISRAEL ©